Gulfstream “Virtual Sky” Patent Reveals Adaptive Smart Aircraft Window Display to Enhance Wellness in Private Jet Cabins

Among the new technologies emerging from business jet manufacturers, one has been picking up significant momentum – virtual windows. Presented as a means of displaying the view outside of a passenger cabin on a screen without the technical and physical limitations of actual windows, virtual windows enable engineers to shed weight and complexity from the airframe in favor of relatively simple, lightweight screens.
Inside the cabin, virtual windows are envisioned to provide passengers with a real-time depiction of the scene outside the aircraft. Provided the screens have sufficient resolution and clarity to mask the reality that they are, in fact, screens, the effect would be a cabin environment that feels even more open and expansive than with traditional windows.
The technical benefits are significant. With cabin pressures exceeding 10 psi, a single Gulfstream cabin window must be able to contain over 4,800 pounds of pressure. Accordingly, the structure surrounding it must be precisely – and robustly – engineered. Eliminating the physical window would simplify the structure and provide significant weight savings, which would directly translate into additional payload and/or range.
Now, manufacturers are looking beyond the technical benefits offered by virtual windows. In a recent patent application, Gulfstream describes how such windows can be made smarter to enhance passenger wellness.
INITIAL SMART WINDOW CONCEPTS

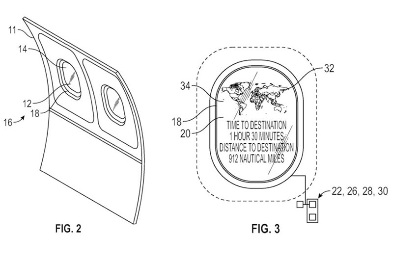
The fundamental concept of a smart aircraft window began to emerge and evolve in the early 2020s. In 2022, Gulfstream published a patent for traditional aircraft windows that function as translucent screens. The patent proposed overlaying various data upon the window to provide information to passengers.
In this concept, information pertinent to the view outside, such as the names of cities or natural features below, could be displayed on the window itself. Flight data could also be displayed, showing the aircraft’s location along the route and providing the time and distance remaining in the flight. Such windows could even integrate augmented reality, labeling cities and geographic features below as the aircraft passes overhead.
Integrating such functionality with a physical window, however, presents significant technical challenges. The smart window would require complex films and circuitry that must withstand extreme temperatures and pressures. The continuously varying backlighting would also present a challenge, as the information overlaid on the window would have to remain clearly visible against bright, direct sunlight as well as pitch-black night skies.
VIRTUAL WINDOWS – PHYSICAL SIMPLICITY MEETS INTELLIGENT FUNCTIONALITY

To an aerospace engineer, the freedom to eliminate physical windows would be a relief. Hundreds of rivets, bonded surfaces, and structural components could be eliminated entirely. And while structural failure of cabin windows is exceedingly rare, the likelihood of it occurring would similarly be eliminated entirely.
But, aside from the technical simplicity, the freedom to display nearly anything on a screen masquerading as a window opens up a world of possibilities related to the cabin environment. Chief among them is the ability to utilize screens with a curvature that matches that of the fuselage, nesting them into cabin sidewalls and ceilings to maximize interior space while giving the appearance of large, expansive windows.
As one might expect, the patent places importance on creating an accurate representation of the environment outside of the cabin. After all, if the virtual windows are expected to masquerade as actual windows, they should depict the exterior scene as accurately as possible. The concept aims to achieve this by leveraging aircraft data to enhance realism in various creative ways.
For example, the patent suggests that the view of the virtual sky can be continuously adjusted to align with the aircraft’s real-time pitch, roll, and yaw. This close integration with the aircraft would significantly enhance the realism, making the virtual window more closely resemble a traditional window.
The view outside could be further modified with motion blur and other visual effects blended into the visuals to create a realistic sensation of speed. Additionally, the position and orientation of the aircraft could be used to enhance the view slightly, depicting accurate representations of the sun, moon, and celestial objects that might otherwise become obscured by haze or glare.
LEVERAGING TECHNOLOGY TO BOOST WELLNESS

Enhancing the wellness of aircraft passengers primarily comes down to three key factors: achieving the lowest possible cabin altitude, providing sufficient space for movement and stretching, and mitigating jet lag.
With cabin altitudes of 2,840 feet at 41,000 feet and 4,850 feet at 51,000 feet, Gulfstream’s G700 already provides the lowest cabin altitudes available in any private jet. With a wider, taller cabin than its nearest competitor, it also offers ample space. Gulfstream’s focus, therefore, has turned to mitigating jet lag.
This is where virtual windows come into play. Armed with real-time weather and atmospheric data of the flight’s destination, and with the ability to display enhanced versions of the view outside, flight crews would be able to artificially adjust the imagery to represent the real-time view of the conditions at the destination, thus influencing the circadian rhythm of the cabin occupants to mitigate jet lag.
Some of the adjustable elements include:
- Position and intensity of the sun
- Sky coloration
- Clouds, rain, snow, and other weather phenomena, which could be generated via real-time weather data from the selected destination
Notably, the patent even proposes enhancing the realism by incorporating computer-generated rain and dynamic water droplets flowing across the simulated window’s surface:

A key factor in the representation of the time of day and conditions at the destination is when and how gradually the representation is applied. In the patent, Gulfstream suggests that the artificial adjustment of the virtual sky can be automatically controlled by the system. As a flight progresses, the transition from the depiction of the actual environment outside the aircraft to that of the destination would be gradual, and the speed of the transition would be optimized to best mitigate jet lag.
Alternatively, the patent suggests that the transition could be controlled manually “to pre-simulate presence in the destination time zone.” The interface is depicted as a touchscreen slider that can be moved forward and back along the flight path to create a cabin simulation matching the time of day at any geographic point between takeoff and landing:

Whether manually or automatically adjusted, the result would be a softer, easier transition for passengers traveling across multiple time zones and a corresponding decrease in the effects of jet lag.
ADDITIONAL CAPABILITIES OF VIRTUAL WINDOWS
The virtual window concept has afforded engineers and designers ample opportunity to get creative and think outside the box. Like the early smart window concepts, text and information can be added to the screen to provide augmented vision, identifying cities, natural features, and constellations. In theory, the identity and origin/destination of other aircraft in the vicinity could also be displayed, although some occupants might find it disconcerting to have other air traffic in the vicinity so prominently visible.
For nervous fliers and any passengers who find flying stressful, the virtual windows could provide a reprieve. When the actual weather surrounding the aircraft is harsh or unsettling, or when no clear horizon is visible, the system can display a virtual sky depicting pleasant weather to alleviate their stress. By providing a clear horizon extending around the entire passenger cabin, the effects of airsickness would be mitigated.
Finally, given the resources available to private, individual aircraft owners, it’s conceivable that some might push the limits of convention in the name of entertainment. In theory, virtual displays could be installed in the flooring of an aircraft cabin, thus providing a “glass bottom” effect and an exhilarating view of the landscape below the aircraft.
Of course, perhaps in keeping with Gulfstream’s stately, sophisticated identity, such concepts do not appear in the patent description and would likely be left for brash industry newcomers to promote.





